Texas Instruments IWR6x mmWave 60GHz to 64GHz Sensors

Texas Instruments IWR6x mmWave 60GHz to 64GHz Sensors are integrated single-chip mmWave sensors based on FMCW radar technology capable of operation in the 60GHz to 64GHz band. These devices are built with TI’s low-power 45nm RFCMOS process and enable unprecedented levels of integration in an extremely small form factor. Texas Instruments IWR6x mmWave 60GHz to 64GHz Sensors are ideal for low-power, self-monitored, ultra-accurate radar systems in the industrial space.

Features

  • FMCW transceiver
    • Integrated PLL, transmitter, receiver, Baseband, and A2D
    • 60GHz to 64GHz coverage with 4GHz continuous bandwidth
    • Four receive channels
    • Three transmit channels
    • Supports 6-bit phase shifter for TX Beamforming
    • Ultra-accurate chirp engine based on fractional-N PLL
    • 12dBm TX power
    • 12dB RX noise figure
    • -93dBc/Hz phase noise at 1MHz
  • Built-in calibration and self-test
    • Arm® Cortex®-R4F-based radio control system
    • Built-in firmware (ROM)
    • Self-calibrating system across frequency and temperature
  • C674x DSP for advanced signal processing (IWR6843 only)
  • Hardware accelerator for FFT, filtering, and CFAR processing
  • Memory compression
  • ARM-R4F microcontroller for object detection and interface control
    • Supports autonomous mode (loading user application from QSPI flash memory)
  • Internal memory with ECC
    • IWR6843 - 1.75MB, divided into MSS program RAM (512KB), MSS data RAM (192KB), DSP L1 RAM (64KB) and L2 RAM (256KB), and L3 radar data cube RAM (768KB)
    • IWR6443 - 1.4MB, divided into MSS program RAM (512KB), MSS data RAM (192KB), and L3 radar data cube RAM (768KB)
    • Technical reference manual includes allowed size modifications
  • Other interfaces available to user application
    • Up to 6 ADC channels (low sample rate monitoring)
    • Up to 2 SPI ports
    • Up to 2 UARTs
    • 1 CAN-FD interface
    • I2C
    • GPIOs
    • Two-lane LVDS interface for raw ADC data and debug instrumentation
  • Functional Safety-Compliant targeted
    • Developed for functional safety applications
    • Documentation will be available to aid IEC 61508 functional safety system design
    • Hardware integrity up to SIL-2 targeted
    • Safety-related certification
      • IEC 61508 certification by TUV Sud planned
  • Power management
    • Built-in LDO network for enhanced PSRR
    • I/Os support dual voltage 3.3V/1.8V
  • Clock source
    • 40.0MHz crystal with internal oscillator
    • Supports external oscillator at 40MHz
    • Supports externally driven clock (square/sine) at 40MHz
  • Easy hardware design
    • 0.65mm pitch, 161-pin 10.4mm × 10.4mm flip-chip BGA package for easy assembly and low-cost PCB design
    • Small solution size
  • Operating conditions
    • Junction temperature range of –40ºC to +105ºC

Applications

  • Industrial sensor for measuring range, velocity, and angle
  • Building automation
  • Displacement sensing
  • Gesture recognition
  • Robotics
  • Traffic monitoring
  • Proximity and position sensing
  • Security and surveillance
  • Factory automation safety guards
  • People counting
  • Motion detection

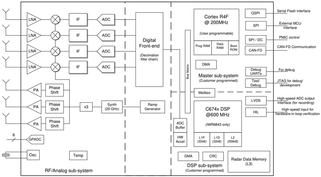
Functional Block Diagram

Block Diagram - Texas Instruments IWR6x mmWave 60GHz to 64GHz Sensors
Publicado: 2019-11-06 | Actualizado: 2024-09-16