Texas Instruments TCAL6416R I2C-Bus/SMBus I/O Expander

Texas Instruments TCAL6416R I2C-Bus/SMBus I/O Expander provides general-purpose output (I/O) and parallel input expansion for the two-line bidirectional SMBus or I2C bus protocol. The device has a power supply voltage ranging from 1.08V to 3.6V on the P-port side (VCCP), and from 1.08V to 3.6V on the I2C bus side (VCCI). The device supports 100kHz (Standard-Mode), 400kHz (Fast-Mode), and 1MHz (Fast-Mode-Plus) I2C clock frequencies. I/O expanders, such as the TCAL6416R, provide a simple solution when additional I/Os are needed for sensors, switches, push-buttons, LEDs, fans, etc.

The Texas Instruments TCAL6416R has agile I/O ports, which include additional features designed to enhance I/O performance regarding power consumption, speed, and EMI. The extra features include programmable pull-up and pull-down resistors, programmable output drive strength, latchable inputs, interrupt status register, maskable interrupt, and programmable open-drain or push-pull outputs. The RESET pin only resets the I2C state machine when stuck to regain access to the I2C. I/O pins and sticky registers retain the last configured state while the I2C is re-initialized.

Features

  • Operating power-supply voltage range of 1.08V to 3.6V
  • Allows bidirectional voltage-level translation and GPIO expansion between 1.2V, 1.8V, 2.5V, and 3.3V I2C bus and p-ports
  • Low standby current consumption of 1µA typical at 1.8V
  • 1MHz fast mode plus I2C bus
  • The hardware address pin allows two devices on the same I2C, SMBus bus
  • Active-low reset input (/RESET)
    • Sticky registers retain values when the device is reset with /RESET
    • The I2C functional state machine is reset
  • Open-drain active-low interrupt output (/INT)
  • Input or output configuration register
  • Polarity inversion register
  • Configurable I/O drive strength register
  • 10kΩ pull-up and pull-down resistor configuration register
  • Internal power-on reset
  • Software reset call support
  • Noise filter on SCL or SDA inputs
  • Latched outputs with high-current drive maximum capability for directly driving LEDs
  • Latch-up performance exceeds 100mA per JESD 78, class II
  • ESD protection exceeds JESD 22
    • 4000V human-body model (A114-A)
    • 1000V charged-device model (C101)

Applications

  • Servers
  • Routers (telecom switching equipment)
  • Personal computers
  • Personal electronics
  • Industrial automation
  • Gaming consoles
  • Products with GPIO-limited processors

Simplified Schematic

Schematic - Texas Instruments TCAL6416R I2C-Bus/SMBus I/O Expander

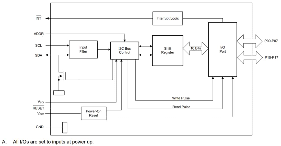
Functional Block Diagram

Block Diagram - Texas Instruments TCAL6416R I2C-Bus/SMBus I/O Expander
Publicado: 2025-08-20 | Actualizado: 2025-08-28