Texas Instruments SN74ACT244/SN74ACT244-Q1 Octal Buffers/Drivers
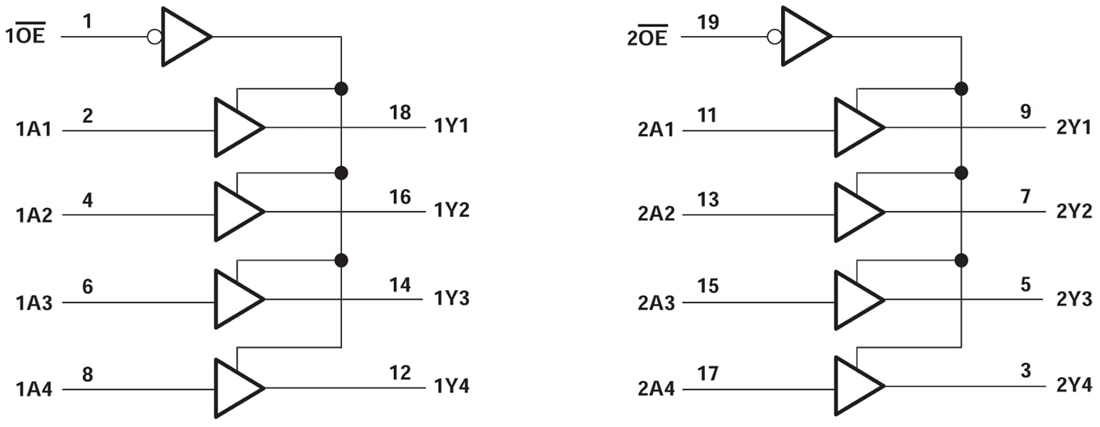
Texas Instruments SN74ACT244/SN74ACT244-Q1 Octal Buffers/Drivers are explicitly designed to improve the density and performance of 3-state clock drivers, memory address drivers, and bus-oriented receivers and transmitters. The SN74ACT244/SN74ACT244-Q1 devices are organized as two 4-bit buffers and drivers with separate output-enable (OE) inputs. When OE is low, the device passes non-inverted data from the A inputs to the Y outputs. When OE is high, the outputs are in the high-impedance state. The Texas Instruments SN74ACT244-Q1 devices are AEC-Q100 qualified for automotive applications.Features
- Operation of 4.5V to 5.5V VCC
- Inputs accept voltages to 5.5V
- Max tpd of 9.5ns at 5V
- Inputs are TTL-compatible
Applications
- Servers and network switches
- LED displays
- Telecom infrastructure
- Motor-drive control boards
Logic Diagram
Publicado: 2023-10-27
| Actualizado: 2025-04-29
