Texas Instruments IWR2243 Single-Chip FMCW Transceiver
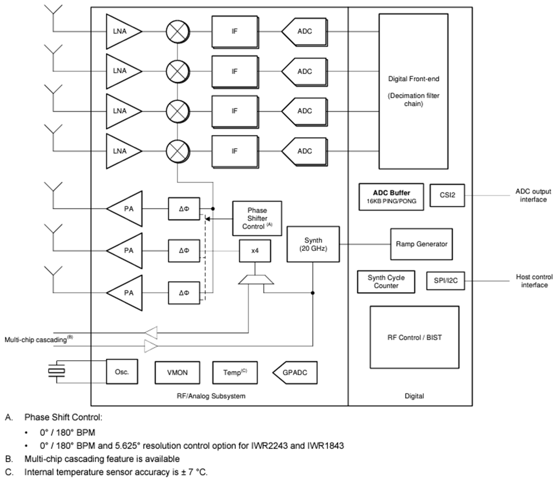
Texas Instrument IWR2243 Single-Chip FMCW Transceiver can operate in the 76GHz to 81GHz band. The device enables unprecedented levels of integration in an extremely small form factor. IWR2243 is an ideal solution for low-power, self-monitored, ultra-accurate radar systems in the industrial space.IWR2243 is a self-contained FMCW transceiver single-chip solution that simplifies the implementation of Radar sensors. It is built on TI’s low-power 45nm RFCMOS process, which enables a monolithic implementation of a 3TX, 4RX system with built-in ADC converters and PLL. Simple programming model changes can enable various sensor implementations with the possibility of dynamic reconfiguration for implementing a multimode sensor. The IWR2243 device supports the connection of multiple devices in a cascade fashion. This feature enhances the angular resolution to meet high-performance radar sensor development.
Features
- FMCW transceiver
- Integrated PLL, transmitter, receiver, baseband, and ADC
- 76GHz to 81GHz coverage with 5GHz available bandwidth
- Four receive channels
- Three transmit channels
- Ultra-accurate chirp engine based on Fractional-N PLL
- 13dBm TX power
- 13dB RX noise figure
- Phase noise at 1MHz
- -96dBc/Hz (76GHz to 77GHz)
- -94dBc/Hz (77GHz to 81GHz)
- Built-in calibration and self-test
- Built-in firmware (ROM)
- Self-calibrating system across frequency and temperature
- Host interface
- Control interface with an external processor over SPI or I2C interface
- Data interface with an external processor over MIPI D-PHY and CSI2 v1.1
- Interrupts for fault reporting
- Functional Safety-Compliant
- Developed for functional safety applications
- Documentation available to aid IEC 61508 functional safety system design up to SIL 3
- Hardware integrity up to SIL-2
- Safety-related certification
- IEC 61508 certified up to SIL 2 by TUV SUD
- IWR2243 advanced features
- Embedded self-monitoring with limited host processor involvement
- Complex baseband architecture
- Option of cascading multiple devices to increase channel count
- Embedded interference detection capability
- Power management
- Built-in LDO network for enhanced PSRR
- I/Os support dual voltage 3.3V/1.8V
- Clock source
- Supports externally driven clock (square/sine) at 40MHz
- Supports 40MHz crystal connection with load capacitors
- Easy hardware design
- 0.65mm pitch, 161-pin 10.4mm × 10.4mm flip chip BGA package for easy assembly and low-cost PCB design
- Small solution size
- Junction temperature range of -40°C to 105°C
Applications
- Industrial sensor for measuring range, velocity, and angle
- Robotics
- Traffic monitoring
- Security and surveillance
- Factory automation safety guards
- Imaging radar using cascaded configuration
Functional Block Diagram
Publicado: 2024-01-19
| Actualizado: 2024-01-31
