Texas Instruments DP83848x 10/100Mb/s Ethernet PHY

Texas Instruments DP83848x 10/100Mb/s Ethernet PHY was designed for applications requiring Ethernet connectivity with extended temperature performance beyond the typical Industrial temperature range. The Texas Instruments DP83848x is a highly reliable, feature-rich, robust device that meets IEEE 802.3 standards over multiple temperature ranges (extreme to commercial temperatures). This device is ideally suited for harsh environments such as automotive/transportation, wireless remote base stations, and industrial control applications.

It offers the choice of an RMII or MII interface for maximum flexibility in MPU selection and enhanced ESD protection, all in a 48-pin package.

Features

  • Multiple temperature ranges from –40°C to 105°C
  • Low-power 3.3V, 0.18µm CMOS technology
  • Low-power consumption of < 270mW typical
  • 3.3V MAC interface
  • Auto-MDIX for 10/100Mb/s
  • Energy detection mode
  • 25MHz clock output
  • SNI interface (configurable)
  • RMII Rev. 1.2 interface (configurable)
  • MII serial management interface (MDC and MDIO)
  • IEEE 802.3 MII
  • IEEE 802.3 auto-negotiation and parallel detection
  • IEEE 802.3 ENDEC, 10BASE-T transceivers and filters
  • IEEE 802.3 PCS, 100BASE-TX transceivers and filters
  • IEEE 1149.1 JTAG
  • Integrated ANSI X3.263 compliant TP-PMD
  • Physical sub-layer with adaptive equalization and baseline wander compensation
  • Error-free operation up to 150 meters
  • Programmable LED support for Link, 10/100Mb/s mode, activity, duplex, and collision detect
  • Single register access for complete PHY status
  • 10/100Mb/s packet BIST (Built-in Self Test)

Applications

  • Automotive/transportation
  • Industrial controls and factory automation
  • General embedded applications

Videos

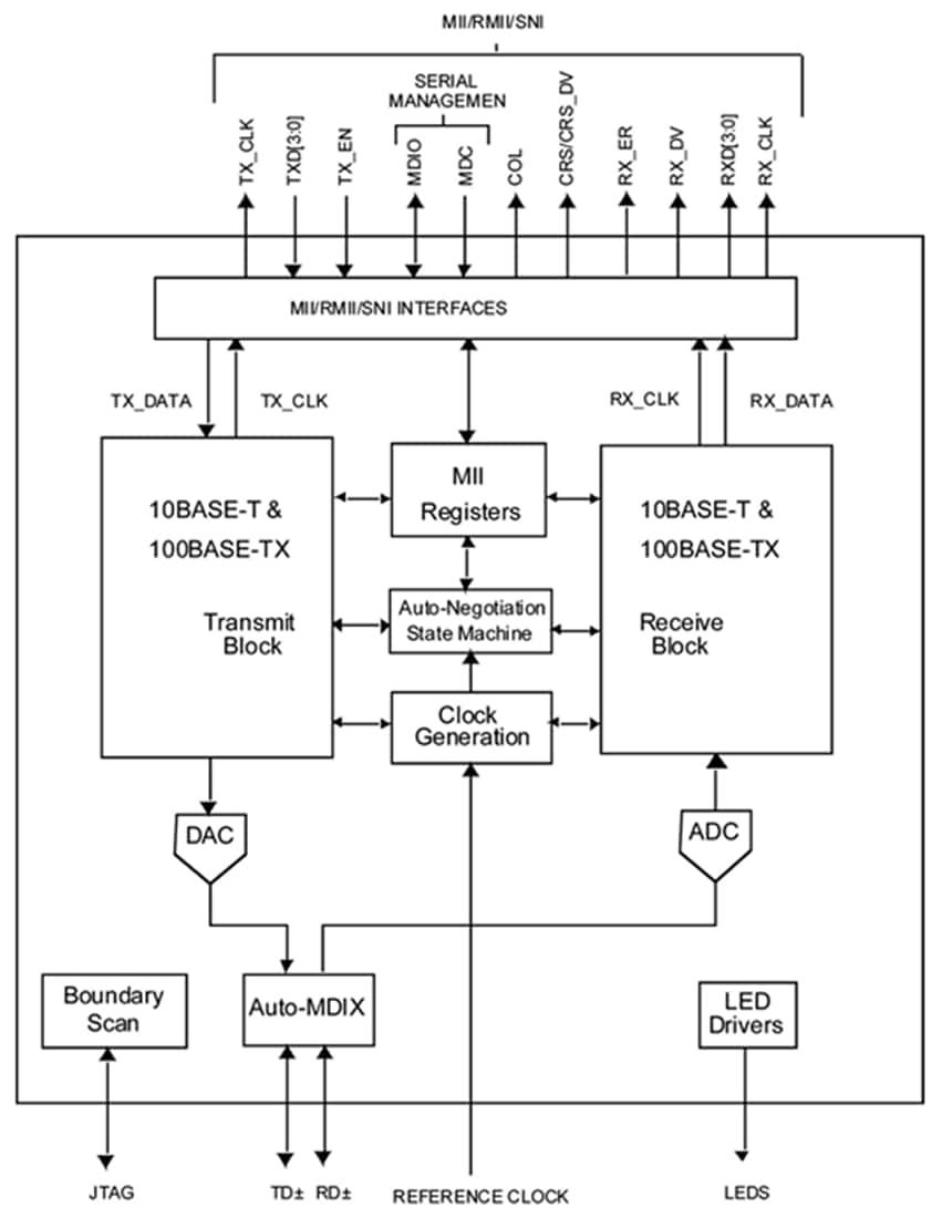
Functional Block Diagram

Block Diagram - Texas Instruments DP83848x 10/100Mb/s Ethernet PHY
Publicado: 2024-10-29 | Actualizado: 2024-12-13