Texas Instruments ADS85xxS Simultaneous-Sampling ADCs

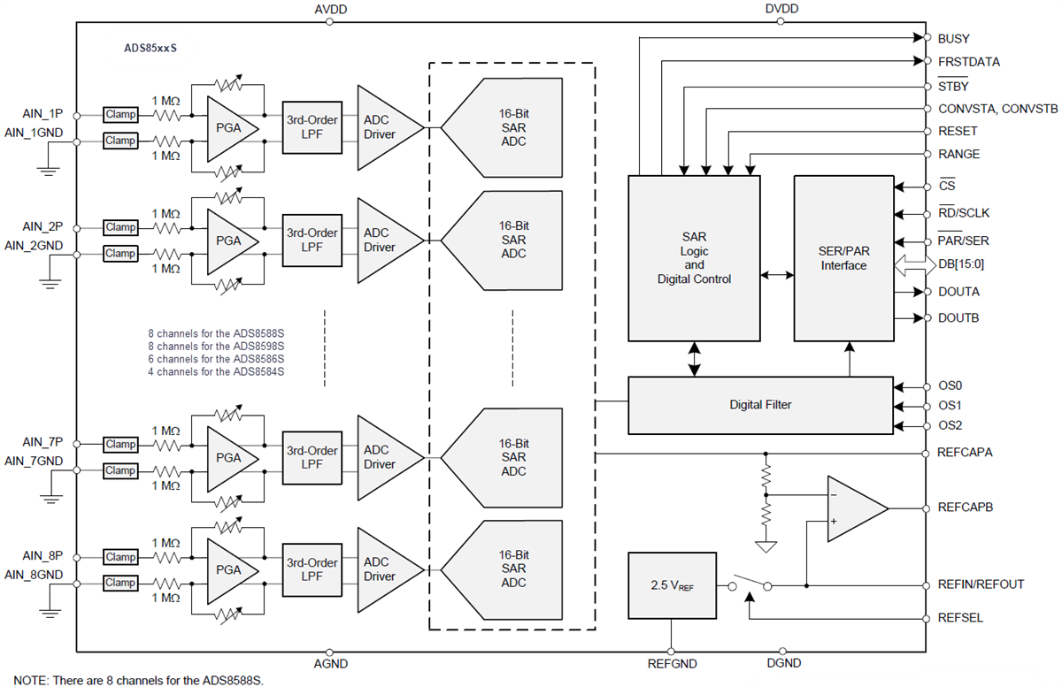
Texas Instruments ADS85xxS Simultaneous-Sampling ADCs are integrated data acquisition (DAQ) systems based on a 16-bit successive approximation (SAR) analog-to-digital converter (ADC). All input channels are simultaneously sampled to achieve a maximum throughput of 200kSPS per channel. The device features a complete analog front-end for each channel, including a programmable gain amplifier (PGA) with a high input impedance of 1MΩ. An input clamp, low-pass filter, and an ADC input driver are also included. Each Texas Instruments ADS85xxS also features a low-drift, precision reference with a buffer to drive the ADC. A flexible digital interface supporting serial, parallel, and parallel byte communication. This interface enables the devices to be used with various host controllers.

Features

  • 16-Bit ADCs with integrated analog front-end
  • Simultaneous sampling 8, 6, and 4-channels
  • ±10V and ±5V pin-programmable bipolar inputs
  • 1MΩ high input impedance 
  • 5V analog supply (2.3V to 5V I/O supply)
  • Excellent performance
    • 200kSPS max. throughput on all channels
    • DNL: ±0.35LSB; INL: ±0.45LSB
    • SNR: 96.4dB; THD: −114dB
  • Overvoltage input clamp with 7kV ESD
  • Low-drift, on-chip reference (2.5V), and buffer
  • Over-temperature performance
    • 3ppm/°C max. offset drift 
    • 6ppm/°C gain drift 
  • On-chip digital filter for oversampling
  • Flexible parallel, byte, and serial interface
  • –40°C to +125°C temperature range 
  • LQFP-64 package

Applications

  • Monitoring and control for power grids
  • Protection relays
  • Multi-phase motor controls
  • Industrial automation and controls
  • Multichannel data acquisition systems

Simplified Block Diagram

Block Diagram - Texas Instruments ADS85xxS Simultaneous-Sampling ADCs
Publicado: 2017-02-08 | Actualizado: 2022-03-24