Renesas Electronics RC190xxA PCIe Gen5/6 Clock Buffers & Multiplexers
Renesas Electronics RC190xxA PCIe Gen5/6 Clock Buffers and Multiplexers features an ultra-low additive jitter and an integrated source-terminated 85Ω or 100Ω that saves up to 96 external resistors for 24-ch buffer variant. The high-speed serial interface (SBI) supports output enable and device daisy-chaining. System security on the RC190xxA is ensured with SMBus write protection.The Renesas RC190xxA PCIe Gen5/6 Clock Buffers and Multiplexers offer an extended operating temperature in a small package.
Features
- Low additive phase jitter
- 6fs RMS PCIe Gen5 additive phase jitter
- 4fs RMS PCIe Gen6 additive phase jitter
- <1.5ns maximum in-out propagation delay
- Power Down Tolerant (PDT) input and Flexible Startup Sequencing (FSS)
- Automatic Clock Parking (ACP)
- Selectable output slew rate via pin or SMBus
- 4-wire Side-Band Interface
- 9 selectable SMBus addresses
- SMBus write protection
- 85Ω or 100Ω output impedance product options
- -40 to +105°C, 3.3V±10% operation
Applications
- Cloud/High-performance Computing
- nVME Storage
- Networking
- Accelerators
- Computing
- Industrial
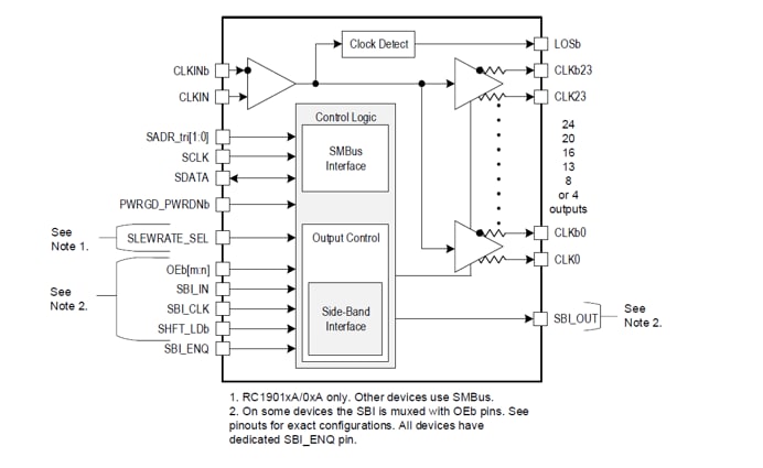
Block Diagram
Publicado: 2022-01-24
| Actualizado: 2022-07-21
