Omron Industrial Automation S8VK-WB Switch Mode Power Supplies
Omron Industrial Automation S8VK-WB Switch Mode Power Supplies add additional features in a reduced footprint size. Available from 240 watts up to 960 watts with options for both 24VDC and 48VDC. The S8VK-WB series adds coated internal electronics, front panel visual status indicators and push-in plus termination while still supporting a wide acceptable input range including 3-Phase input (3 x 340 to 576VAC) 2-Phase input (2 X 340 to 576VAC) and DC input excluding 960W (450 to 810VDC). The series operates at an ambient temperature of -40°C to +70°C and enables side-by-side mounting. S8VK-WB is certified for 3000m altitude and complies with the SEMI F47-0706 standard.Features
- Operates at an ambient temperature of -40°C to +70°C
- Side-by-side mounting enabled
- Complies with SEMI F47-0706 standard
- Certification for 3000m altitude
- Coated PCBs for better resistance to environment
- Equipped with signal output that indicates DC OK and the overload status
Specifications
- 240W, 480W, and 960W power ratings
- 24V or 48V output voltage
- 380V to 480V rated input voltage
- 5A to 20A rated output current
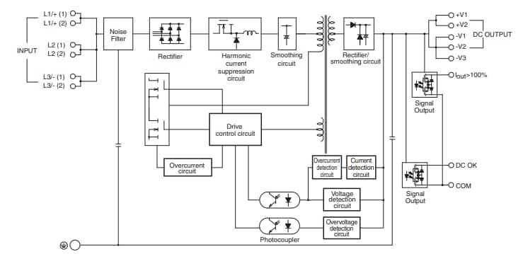
Block Diagram
Publicado: 2021-04-01
| Actualizado: 2022-03-11
