NXP Semiconductors MC33HB2000 Power ICs & Drivers
NXP Semiconductors MC33HB2000 Power ICs and Drivers are SMARTMOS monolithic H-Bridge ICs enhanced with SPI configuration and diagnostic capabilities. These power ICs can control inductive loads with peak currents greater than 10A, and the nominal continuous average load current is 3A. NXP MC33HB2000 ICs are designed to address the ISO26262 safety requirements, meet the stringent requirements of automotive applications, and are AEC-Q100 qualified. These power ICs are highly accurate in real-time current feedback through a current mirror output signal with less than 5% error. The MC33HB2000 ICs operate at a 5V to 28V voltage range. These power ICs are ideal for electronic throttle control, exhaust gas recirculation control (EGR), electric pumps, turbo, and waste flap control.Features
- Advanced diagnostic reporting via a serial peripheral interface:
- Charge pump under-voltage, overvoltage, and under-voltage on VPWR
- Short to the ground and short to VPWR for each output
- Open load, temperature warning, and overtemperature shutdown
- SOIC, PQFN, and HVQFN package sizes
- Drives inductive loads in a full H-bridge or Half-bridge configuration
- Overvoltage protection places the load in high-side recirculation mode with notification in H-bridge mode
- AEC-Q100 grade 1 qualified
Applications
- Electronic throttle control
- Exhaust Gas Recirculation (EGR) control
- Turbo, swirl and whirl, and waste flap control
- Electric pumps, motor control, and auxiliaries
Specifications
- 5V to 28V operating voltage range
- 2V/μs default slew rate
- 7A threshold current limit
- >5% error
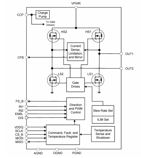
Block Diagram
Functional Block Diagram
Operating Mode State Diagram
Operating Modes
• Sleep mode - MC33HB2000 functions are disabled. The current consumption does not exceed the sleep-state current specification.
• Standby mode - MC33HB2000 logic is fully operational with the outputs in a high-impedance state.
• Normal mode - MC33HB2000 functions are fully operational. Any detected faults transition the device to Fault mode.
• Fault mode - Certain functions are forced off and the FS_B signal is latched to logic [0] indicating a fault
Publicado: 2020-06-09
| Actualizado: 2024-10-17
