Nuvoton NuMicro® M254/M256/M258 Microcontrollers

Nuvoton NuMicro® M254/M256/M258 Microcontrollers are based on the Arm® Cortex®-M23 core utilizing Armv8-M architecture with COM/SEG LCD driver and capacitive touch key functions for the HMI of a smart appliance. A USB 2.0 full-speed device is also supplied to support communication with PC/Mobile accessories.

The Nuvoton M254/M256/M258 32-bit, low-power, low-leakage microcontrollers operate up to 48MHz and supplies 64Kbytes to 256Kbytes of Flash, 8Kbytes to 32Kbytes SRAM, 1.75V to 5.5V wide operating voltage, 5V I/O tolerance, and -40°C to +105°C operating temperature.

The MCUs are available in LQFP44 (10mm x 10mm), LQFP64 (7mm x 7mm), LQFP80 (14mm x 14mm), and LQFP128 (14mm x 14mm) packages.

Key Features Support Table

Chart - Nuvoton NuMicro® M254/M256/M258 Microcontrollers

Features

  • Arm Cortex-M23 processor, running up to 48MHz when VDD = 1.75V to 5.5V
  • Built-in PMSAv8 Memory Protection Unit (MPU)
  • Built-in Nested Vectored Interrupt Controller (NVIC)
  • 32-bit single-cycle hardware multiplier and 32-bit 17-cycle hardware divider
  • 24-bit system tick timer
  • Supports programmable and maskable interrupt
  • Supports low-power sleep mode by WFI and WFE instructions
  • Supports single-cycle I/O access
  • Supports XOM feature with one region
  • Low power mode - idle mode
  • Power-down mode (PD)
  • Fast Wake-up Power-Down mode (FWPD)
  • Deep Power-Down mode (DPD)
  • 1.5V core power voltage
  • EINT, touch key, USCI, RTC, WDT, I2C, timer, UART, BOD, LVR, POR, GPIO, USBD, ACMP, debug interface, NMI, and reset pin from power-down mode or fast wake-up power-down mode
  • RTC, wake-up timer, LVR, wake-up pins from deep power-down mode
  • Built-in LDO for wide operating voltage from 1.75V to 5.5V
  • Brown-out detector
    • With seven levels at 4.4V/3.7V/3.0V/2.7V/2.4V/2.0V/1.8V
    • Supports brown-out interrupt and reset option
  • Low voltage reset with 1.55V threshold voltage levels
  • Security
    • 96-bit Unique ID (UID)
    • 128-bit Unique Customer ID (UCID)
    • AES-128, 192, 256

Applications

  • Handheld devices
  • Thermostat with smart LCD display and touch key
  • Smart home appliance
  • Industrial control/industrial automation
  • Temperature/humidity logger

Block Diagram

Block Diagram - Nuvoton NuMicro® M254/M256/M258 Microcontrollers

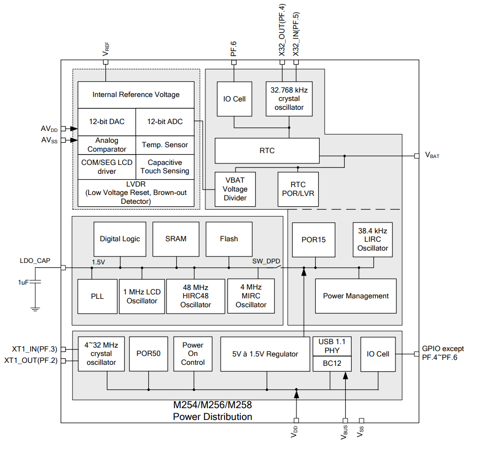
Power Distribution Diagram

Application Circuit Diagram - Nuvoton NuMicro® M254/M256/M258 Microcontrollers
Publicado: 2025-04-16 | Actualizado: 2025-05-06