Nexperia NCA9555PW 16-Bit I2C & SMBus I/O Expanders

Nexperia NCA9555PW 16-Bit I2C and SMBus I/O Expanders are an efficient solution to expand the General Purpose Input/Output (GPIO) capabilities of I2C-bus/SMBus applications. The Nexperia NCA9555PW devices have a 1.65V to 5.5V wide operating voltage range. The NCA9555 is designed to meet the needs of various devices, including interrupt and pull-up resistors. These devices include ACPI power switches, sensors, push buttons, LEDs, and fan control systems. The NCA9555 features 8-bit input, output, configuration, and polarity inversion registers, with all IOs defaulting to inputs upon power-up. The device's flexible configuration options allow each IO to be set as an input or output, making it an ideal choice for adding additional IOs with minimal interconnections.

Features

  • I2C-bus to parallel port expander
  • Operating power supply voltage range of 1.65V to 5.5V
  • Low standby current consumption
    • 2.5µA (maximum)
  • Schmitt-trigger action allows slow input transition and better switching noise immunity at the SCL and SDA inputs
    • Vhys = 0.10 × VCC (typical)
    • Noise filter on SCL and SDA inputs
  • 5V tolerant I/Os
  • 16 I/O pins which default to 16 inputs
  • Open-drain active LOW interrupt output (INT)
  • 400kHz Fast-mode I2C-bus
  • Internal power-on reset
  • Power-up with all channels configured as inputs with weak pull-up resistors
  • No glitch on the power-up
  • Latched outputs with 25mA drive maximum capability for directly driving LEDs
  • Latch-up performance exceeds 100mA per JESD78, Class II
  • ESD protection
    • HBM ANSI/ESDA/JEDEC JS-001 Class 2 exceeds 2000V
    • CDM ANSI/ESDA/JEDEC JS-002 Class C3 exceeds 1000V
  • Specified from -40°C to +85°C

Applications

  • ACPI power switches
  • Sensors
  • Push buttons
  • LEDs
  • Fan control systems

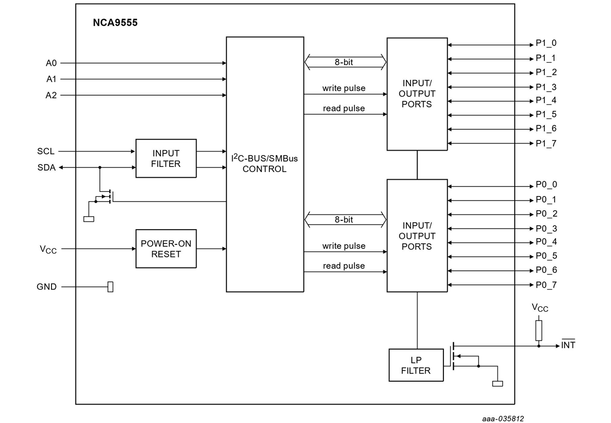
Block Diagram

Block Diagram - Nexperia NCA9555PW 16-Bit I2C & SMBus I/O Expanders
Publicado: 2023-02-07 | Actualizado: 2025-08-20