ISSI IS62WVS Serial SRAMs

ISSI IS62WVS Serial SRAMs are fabricated using high-performance CMOS technology to provide a 4µA standby current. These SRAMs are 512K, 1M, or 2M bit-serial static RAMs organized as 64K, 128K, or 256K bytes respectively by 8 bits. The I62WVS serial SRAMs offer a 20MHz clock rate, Serial Peripheral Interface (SPI) compatible bus interface, and support unlimited reads and writes to the memory array. The additional interfaces supported are Serial Dual Interface (SDI) and Serial Quad Interface (SQI) for the faster data rate requirements. These SRAMs operate within the -40°C to +85°C temperature range and are available in a lead-free 8-pin SOIC package. Typical applications include industrial IoT, advanced driver assistance systems, and the medical industry.

Features

  • High-performance low-power CMOS technology
  • SPI compatible bus
    • SPI(x1) or SDI(x2) or SQI(x4) I/O modes
  • RAM organization
    • 512Kb SRAM as 64K bytes by 8 bits
    • 1Mb SRAM as 128K bytes by 8 bits
    • 2Mb SRAM as 512K bytes by 8 bits
  • Ultra-Low Power Consumption
    • 8mA read current @ 3.6V, 20MHz (maximum)
    • 4μA standby current (typical)
  • Read Modes
    • Byte Read mode
    • Page Read mode
    • Sequential Read mode
    • 32-byte page size
  • Maximum frequency
    • 16MHz @ 1.8VDD
    • 20MHz @ 3VDD
  • 8-pin SOIC package

Applications

  • Industrial IoT
  • Advanced driver assistance systems
  • Industrial application
  • Medical

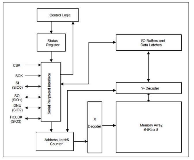
IS62WVS Block Diagram

Block Diagram - ISSI IS62WVS Serial SRAMs
Publicado: 2017-10-17 | Actualizado: 2024-03-05