Infineon Technologies TLE8082ES Companion IC
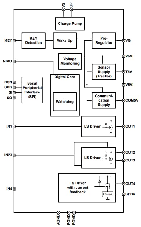
Infineon Technologies TLE8082ES Companion IC support OBDII-compliant EURO5/ BHARATVI 2-/3-wheeler combustion engine systems. The IC supports systems that focus on enhanced Electronic Fuel Injection (EFI) technologies. It's protected against overtemperature and overcurrent and provides diagnostic features for each integrated power stage. The TLE8082ES integrates a pre-regulator for external FETs, a sensor supply, a communication supply for on-board transceivers, an SPI interface and four power stages to drive different load types used in engine management systems.Features
- Power supplies
- Voltage pre-regulator with external FET
- 5V sensor supply (tracking 5V supply input)
- 5V communication supply (tracking 5V supply input)
- Permanent supply feature
- Dedicated KEY input
- After-run functionality
- Window watchdog module
- 4 low side drivers for inductive loads with overtemperature and overcurrent protection and open load/short to GND in off diagnosis
- 3 low-side power stages
- 1 low-side power stage with current measurement feature (O2-heater)
- Serial Peripheral Interface (SPI)
- Green Product (RoHS compliant)
Applications
- Motorcycles, 2- and 3-wheelers, and scooters
- Watercraft, marines and jet-skis
- Snow mobiles
Block Diagram
Publicado: 2021-09-09
| Actualizado: 2022-03-11
