Diodes Incorporated AP7330 LDO Regulators

Diodes Incorporated AP7330 LDO (Low Drop-Out) Regulators offer high output voltage accuracy, high Power Supply Rejection Ratio (PSRR), low RDS(ON), and low output noise. These LDO regulators are based on a CMOS process and guarantee an output current of 300mA. The AP7330 LDO regulators include a voltage reference, error amplifier, current limit circuit, and an enable input for ON/OFF switching. These regulators feature a SOT25 package allowing for a small footprint and a dense PCB layout. The AP7330 LDO regulators are well-suited for handheld communication equipment due to their low power consumption and transient responses.

Features

  • High output voltage accuracy
  • Low RDS(ON)
  • High PSRR (Power Supply Rejection Ratio)
  • Low output noise
  • Low input voltage
  • Low quiescent current

Specifications

  • 1.8V to 5.5V wide input voltage range
  • 1.0V to 4.5V output voltage range
  • 300mA output current
  • ±1% output voltage accuracy
  • 80dB ripple rejection at 1kHz
  • Low output noise of 60µVrms from 10Hz to 100kHz
  • Low quiescent current of 45µA

Applications

  • Smartphones and tablets
  • RF supply
  • Cameras
  • Portable video
  • Portable media player
  • Wireless adapter
  • Wireless communication

Application Circuit

Application Circuit Diagram - Diodes Incorporated AP7330 LDO Regulators

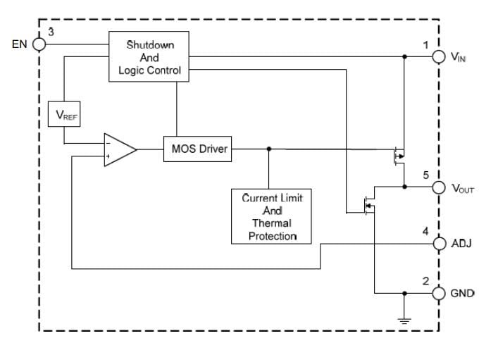
Block Diagram

Block Diagram - Diodes Incorporated AP7330 LDO Regulators
Publicado: 2018-02-10 | Actualizado: 2022-09-18