Analog Devices Inc. TMCM-3216 Stepper Motor Controller/Driver Modules

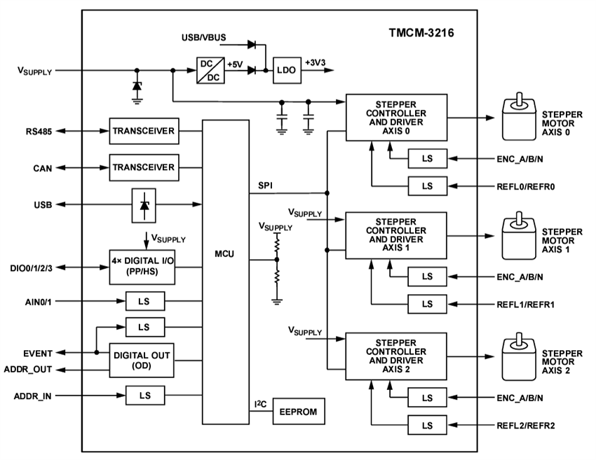
Analog Devices TMCM-3216 Stepper Motor Controller/Driver Modules are compact, 3-axis bipolar stepper motor controllers and standalone driver boards. The Analog Devices TMCM-3216 boards support up to three bipolar stepper motors with up to 2ARMS motor coil current and offer single-supply operation with 24VDC typical (10V to 30V range). There are separate reference/stop switches and incremental A/B/N encoder inputs per motor axis. Additionally, the module offers four programmable digital inputs and outputs configurable as push-pull or high-side outputs. Two analog inputs support 0V to 10V signals. A USB interface is available for configuration and updates. The RS485 and CAN bus interfaces can be used for in-system communication and daisy-chaining boards to simplify wiring through bus connectors at each end of the board.

Features

  • 3-axis stepper motor controller/driver
  • 10V to 30V supply voltage range, 24V typical
  • Three 1.5ARMS motor current, 2ARMS peak
  • Eight-point hardware ramp generator
  • StealthChop™/SpreadCycle™
  • REFL/REFR reference switch inputs per motor axis
  • A/B/N encoder input per motor axis
  • Four DIGITAL_IN/OUT, 24V push-pull or high-side
  • Two ANALOG_IN, 0V to 10V
  • RS485/CAN/USB interfaces
  • 85mm x 55mm (credit-card size)
  • Automatic board address assignment at power-up (optional)
  • TMCL, CANopen

Applications

  • Industrial automation
  • Laboratory automation
  • Medical devices

Videos

Multi-Axis Application Example

Application Circuit Diagram - Analog Devices Inc. TMCM-3216 Stepper Motor Controller/Driver Modules

Connectors

Location Circuit - Analog Devices Inc. TMCM-3216 Stepper Motor Controller/Driver Modules

Onboard LEDs

Location Circuit - Analog Devices Inc. TMCM-3216 Stepper Motor Controller/Driver Modules

Block Diagram

Block Diagram - Analog Devices Inc. TMCM-3216 Stepper Motor Controller/Driver Modules
Publicado: 2025-01-17 | Actualizado: 2025-06-20