Analog Devices Inc. MAX20815 Integrated Step-Down Switching Regulator
Analog Devices Inc. MAX20815 Integrated Step-Down Switching Regulator is a fully integrated, highly efficient device with a PMBus interface. The regulator operates from 2.7V to 16V input supplies, and the output can be adjusted from 0.4V to 5.8V, delivering up to 15A load current. The switching frequency can be configured from 500kHz to 2MHz to optimize a design in size and performance. MAX20815 utilizes fixed frequency and current-mode control with internal compensation. The IC features a selectable advanced modulation scheme (AMS) to improve performance during fast load transients. Operation settings and configurable features can be selected by connecting pin-strap resistors from the PGM_ pins to the ground or using PMBus commands.The Analog Devices MAX20815 has an internal 1.8V LDO output to power the gate drives (VCC) and internal circuitry (AVDD). The device also has an optional LDO input pin (LDOIN), allowing connection from a 2.5V to 5.5V bias input supply for optimized efficiency. The IC offers multiple protections to ensure a robust design, including positive and negative overcurrent protection, output overvoltage protection, and overtemperature protection. The device is available in a 4.3mm x 6.55mm FC2QFN package and supports -40°C to +125°C junction temperature operation. The MAX20815 is footprint compatible with the MAX20810 and MAX20830.
Features
- High power density with low component count
- Compact 4.3mm x 6.55mm, 16-pin, FC2QFN package
- Internal compensation
- Single-supply operation with integrated LDO for bias generation
- Wide operating range
- 2.7V to 16V input voltage range
- 0.4V to 5.8V output voltage range
- 500kHz to 2MHz configurable switching frequency
- -40°C to +125°C junction temperature range
- Optimized performance and efficiency
- 93.8% peak efficiency with VDDH = 12V and VOUT = 1.8V
- High efficiency with optional external bias input supply
- AMS to improve load-transient response
- Differential remote sense
- PMBus interface
- Adaptive voltage scaling of 0.4V to 0.8V reference range
- PMBus telemetry of output current, output voltage, input voltage, and junction temperature
Applications
- Data center power
- Communications equipment
- Networking equipment
- Servers and storage
- Point-of-Load (PoL) voltage regulators
Simplified Application Circuit
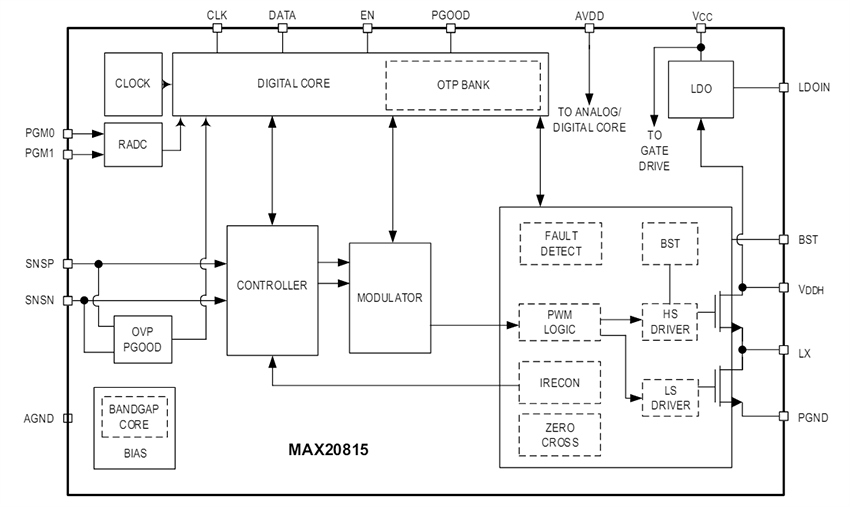
Block Diagram
Related Development Tools
Publicado: 2024-05-02
| Actualizado: 2024-05-14
