Analog Devices Inc. ADIN1300 10/100/1000 Gigabit Ethernet PHY

Analog Devices ADIN1300 10/100/1000 Gigabit Ethernet PHY is a low-power single-port Gigabit Ethernet transceiver with industry-leading latency specifications primarily designed for industrial Ethernet applications. This design integrates an energy-efficient Ethernet PHY core, the associated common analog circuitry, input and output clock buffering, the management interface, and subsystem registers. Analog Devices ADIN1300 10/100/1000 also includes the MAC interface and control logic to manage the reset and clock control, and pin configuration.

Features

  • 10BASE-Te/100BASE-TX/1000BASE-T IEEE® 802.3TM compliant MII, RMII and RGMII MAC interfaces
  • 1000BASE-T RGMII latency TX <68ns, RX <226ns
  • 100BASE-TX MII latency TX <52ns, RX <248ns
  • EMC Test Standards
    • IEC 61000-4-5 surge (±4kV)
    • IEC 61000-4-4 electrical fast transient (EFT) (±4kV)
    • IEC 61000-4-2 ESD (±6kV contact discharge)
    • IEC 61000-4-6 conducted immunity (10V)
    • EN55032 radiated emissions (CLASS A)
    • EN55032 conducted emissions (CLASS A)
  • Unmanaged configuration using multi-level pin strapping
  • Energy Efficient Ethernet (EEE) in accordance with IEEE 802.3az
  • Start of Frame Detection for IEEE 1588 Time Stamp Support
  • Enhanced Link Detection
  • Configurable LED
  • Crystal Oscillator/25MHz clock input (50MHz for RMII)
  • 25MHz/125MHz Synchronous clock output
  • Small Package and Wide Temperature Range
    • 40-lead (6mmx6mm) LFCSP
    • Specified for -40°C to +105°C ambient operation
  • Low Power Consumption
    • 330mW - 1000BASE-T
    • 140mW - 100BASE-TX
    • 3.3V/2.5V/1.8V MAC interface VDDIO supply
    • Integrated power supply monitoring and POR

Applications

  • Industrial automation
  • Process control
  • Factory automation
  • Robotics/motion control
  • Building automation
  • Test and measurement
  • Industrial IoT

Videos

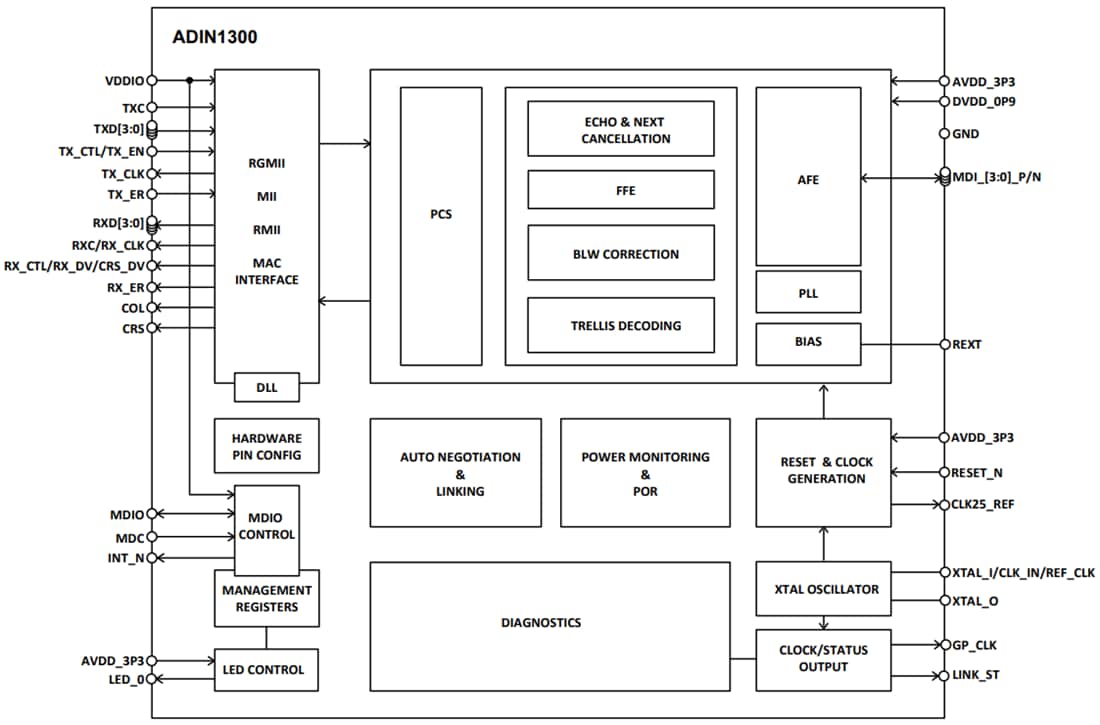
Functional Block Diagram

Block Diagram - Analog Devices Inc. ADIN1300 10/100/1000 Gigabit Ethernet PHY

Additional Resources

Five Ways IEEE Standards Will Advance Industry 4.0
Time-sensitive networking (TSN), a set of IEEE Ethernet standards is foundational for meeting the many powerful outcomes of Industry 4.0. With TSN, all data across the factory-from the floor to servers, front office, and everywhere in between-can coexist and communicate. Discover 5 ways TSN is key.
Learn More

Robust Ethernet Physical Layer Solutions for Time Critical Communications in Harsh Industrial Environments
To enable seamless connectivity of the IT and OT networks and unlock the value of Industry 4.0, enhanced physical layer technology designed for industrial application is a key design choice. Robust Industrial Ethernet PHYs technology that solve the challenges of power, latency, solution size, 105°C ambient temperature, robustness (EMC/ESD), and long product lifetime is the foundation of the connected factory.
Learn More


Accelerate your Transition to Industry 4.0
At the heart of the Industry 4.0 vision is the ability to automate processes using connected devices with the capacity to collect, send, and receive information. Accelerate the transition to the smart factory of tomorrow with industrial Ethernet solutions from ADI.
Learn More

Timing Challenges in Multiaxis Robotics and Machine Tool Applications
In high-performance, multiaxis, synchronized motion applications, control timing requirements are precise, deterministic, and time critical. Discover how to minimize end-to-end latency, especially as control cycle times get shorter and control algorithm complexity increases.
Learn More

Deliver seamless Ethernet to the field with 10BASE-T1L connectivity
10BASE-T1L will dramatically change the process automation industry by significantly improving plant operational efficiency through seamless Ethernet connectivity to field-level devices (sensors and actuators). 
Learn More

Ethernet-APL: Optimize Process Automation with Actionable Insights
The Ethernet-APL will change the process automation world by enabling high bandwidth, seamless Ethernet connectivity to field devices. This solves the challenges that, to date, have limited the use of Ethernet to the field. 
Learn More  

Publicado: 2019-10-04 | Actualizado: 2025-10-01