Analog Devices Inc. ADE9000 AFEs

Analog Devices Inc. ADE9000 Analog Front Ends (AFEs) are fully integrated, multi-phase energy and power quality monitoring devices. The ADE9000 AFEs provide complete power monitoring capabilities with ±3ºC accuracy over a wide dynamic range. Designers can use the ADE9000 AFEs to provide total and fundamental measurements on rms, active, reactive, and apparent powers and energies. The devices meet IEC 62053-21; IEC 62053-22; EN50470-3; OIML R46; and ANSI C12.20 standards for active energy and IEC 62053-23, IEC 62053-24 standards for reactive energy.

Integrated, Flexible Waveform Buffer
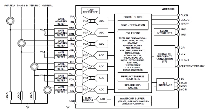
Analog Devices ADE9000 AFEs feature an integrated flexible waveform buffer that stores samples at a fixed data rate of 32kSPS or 8kSPS. The AFEs can also use a sampling rate that varies based on line frequency. This sampling rate ensures 128 points per line cycle. Resampling simplifies fast Fourier transform (FFT) calculation of at least 50 harmonics in an external processor according to IEC 61000-4-7.

Integrated Acquisition and Calculation Engines
Using the ADE9000 AFEs simplify energy and power quality monitoring systems implementation by offering tight integration of acquisition and calculation engines. ADE9000's integrated ADCs and DSP engine calculate parameters and provide data through user-accessible registers. With seven dedicated ADC channels, designers can use the ADE9000 on a 3-phase system or up to three single-phase systems. The device supports Rogowski coils and current transformers (CTs) for current measurements. When used with a host microcontroller, the ADE9000 enables the design of standalone monitoring and protection systems. Designers can also use ADE9000 AFEs with a host microcontroller to develop low-cost nodes that upload data into the cloud.

Features

  • 7 High-performance ADCs
    • 101dB SNR
    • Wide input voltage range: ±1 V, 707mVRMS FS at gain = 1
    • Differential inputs
  • ±25ppm/°C maximum channel drift (including ADC, internal VREF, PGA drift) enabling 10000:1 dynamic input range
    • Class 0.2 metrology with standard external components
  • Power quality measurements
    • Enables implementation of IEC 61000-4-30 Class S
    • VRMS ½, IRMS ½ rms voltage refreshed each half cycle
    • 10 cycle rms/ 12 cycle rms
    • Dip and swell monitors
    • Line frequency—one per phase
    • Zero crossing, zero-crossing timeout
    • Phase angle measurements
  • Supports CTs and Rogowski coil (di/dt) sensors
    • Multiple range phase/gain compensation for CTs
    • Digital integrator for Rogowski coils
  • Flexible waveform buffer
    • Able to re-sample waveform to ensure 128 points per line cycle for ease of external harmonic analysis
  • Events, such as dip and swell, can trigger waveform storage
  • Simplifies data collection for IEC 61000-4-7 harmonic analysis
  • Advanced metrology feature set
    • Total and fundamental active power, volt-amperes reactive (VAR), volt amperes (VA), watthour, VAR hour, and VA hour
    • Total and fundamental IRMS, VRMS
    • Total harmonic distortion
    • Power factor
    • Supports active energy standards: IEC 62053-21 and IEC 62053-22; EN50470-3; OIML R46; and ANSI C12.20
    • Supports reactive energy standards: IEC 62053-23, IEC 62053-24
  • High-speed communication port: 20MHz serial port interface (SPI)
  • Integrated temperature sensor with 12-bit successive approximation register (SAR) ADC
    • ±3°C accuracy from −40°C to +85°C

Applications

  • Energy and power monitoring
  • Power quality monitoring
  • Protective devices
  • Machine health
  • Smart power distribution units
  • Polyphase energy meters

Typical Applications Circuit

Block Diagram - Analog Devices Inc. ADE9000 AFEs
Publicado: 2017-03-31 | Actualizado: 2022-03-11