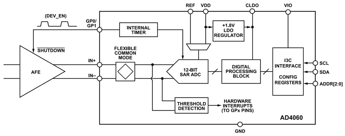
Analog Devices Inc. AD4060 12-Bit Easy Drive SAR ADC
Analog Devices AD4060 12-Bit Easy Drive Successive Approximation Register (SAR) Analog-to-Digital Converter (ADC) enables low-power, high-density data acquisition solutions without sacrificing precision. This ADC offers a unique balance of performance and power efficiency, along with innovative features that enable seamless switching between high-resolution and low-power modes, tailored to a system's immediate needs. The AD4060 is ideal for battery-powered, compact data acquisition and edge sensing applications.The Easy Drive features enable highly efficient analog front-end (AFE) designs. The small sampling capacitors (3.4pF) maximize input impedance, thus reducing the dependence on high-bandwidth, power-hungry amplifiers typically required by SAR ADCs. A wide input common-mode range grants inherent support for differential and single-ended signals.
The Analog Devices AD4060 supports microcontrollers with power-down modes and interrupt-driven firmware. Autonomous modes enable out-of-range event detection while the digital host sleeps. The burst averaging mode delivers on-demand, high-resolution measurements while offloading computations from the host processor. The self-timed device enable signal (DEV_EN) synchronizes the AFE device power cycling to the ADC sampling instant, optimizing system power consumption while minimizing power-up settling error artifacts. The AD4060 also supports power cycling the voltage reference and using the supply as the ADC reference voltage (VREF) for additional power savings.
The device configuration and ADC data readback are supported via a robust, 2-wire I3C interface with cyclic redundancy check (CRC) for all data transfers. The AD4060 is available in compact 14-Lead Lead Frame Chip Scale (LFCSP) and 16-Ball Wafer Level Chip Scale (WLCSP) packages and operates across a wide temperature range, making it ideal for diverse applications.
Features
- Small footprint, big performance
- ±0.1 LSB maximum INL
- 73.8dB SNR with VREF = 3.3V
- 1.35nJ per conversion
- 405μW in sample mode at 300kSPS
- 370μW/112μW in autonomous modes at 1MSPS/300kSPS
- 4.1μW standby power
- Versatile signal conditioning integration
- Easy drive features enable small, low-power AFE designs
- Compatible with differential and single-ended signal chains
- Wide common-mode input range
- Minimizes digital host activity and power dissipation
- Autonomous sampling with a window comparator and interrupt generation
- Averaging filter with burst sampling support
- Power cycling synchronization for companion devices
- 2-wire I3C interface compatible with 1.8V to 3.3V logic
- 2.00mm × 2.6mm LFCSP and 1.67mm × 1.97mm WLCSP package options
- Wide -40°C to +125°C operating temperature range
Applications
- Battery-powered data acquisition
- Vital signs monitoring
- Biological and chemical analysis
- Geologic and seismic sensing
- Motion and robotics
Functional Block Diagram
